Запасные части ЧТЗ Запасные части ЧТЗ
Владивосток
Например:
Актобе
Алдан
или
Выбрать автоматически
Актобе
Алдан
Алматы
Алчевск
Архангельск
Астана
Астрахань
Атырау
Баку
Балашиха
Барнаул
Белгород
Бердянск
Бишкек
Владивосток
Владикавказ
Воркута
Воронеж
Горловка
Грозный
Донецк
Екатеринбург
Иваново
Ижевск
Иркутск
Казань
Калининград
Каменск-Уральский
Караганда
Каховка
Кемерово
Киров
Комсомольск-на-Амуре
Костанай
Краснодар
Красноярск
Красный луч
Ленск
Луганск
Магадан
Магнитогорск
Макеевка
Махачкала
Мелитополь
Минск
Мирный (Якутия)
Москва
Мурманск
Нерюнгри
Нижневартовск
Нижний Новгород
Нижний Тагил
Новая каховка
Новокузнецк
Новосибирск
Новый Уренгой
Норильск
Ноябрьск
Нур-Султан
Омск
Оренбург
Ош
Павлодар
Пермь
Петрозаводск
Петропавловск
Петропавловск-Камчатский
Псков
Ростов-на-Дону
Салехард
Самара
Санкт-Петербург
Саратов
Севастополь
Семей
Симферополь
Сочи
Ставрополь
Сургут
Сыктывкар
Тараз
Ташкент
Токмак
Томск
Тында
Тюмень
Ульяновск
Усинск
Усть-Каменогорск
Уфа
Хабаровск
Ханты-Мансийск
Херсон
Челябинск
Чита
Шымкент
Экибастуз
Энергодар
Южно-Сахалинск
Якутск
Ваш город
Владивосток
Войти
Запасные части к тракторам на одном сайте
+7 (932) 303-00-10
+7 (932) 303-00-10
г. Владивосток, ул. Посадская, д. 20
Пн-Пт: 9:30-18:30 Cб-Вс: Выходной
Отправить заявку


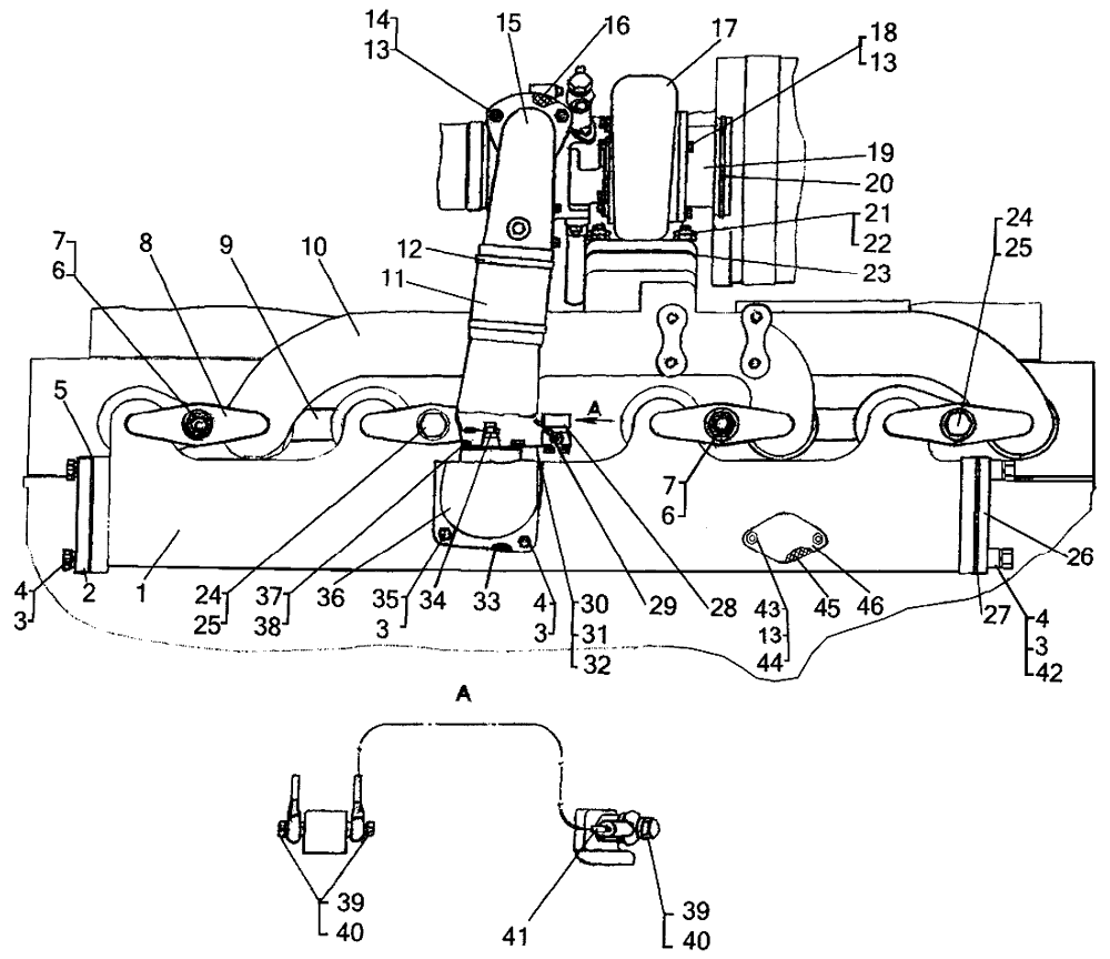
Установка коллекторов для дизелей с турбокомпрессором ТКР 8,5С на Т10М / Б10М


/
с НДС 20%
Описание
Установка коллекторов Т10М (для дизелей с турбокомпрессором ТКР 8,5С)
#Номер запчастиНаименование деталиКол-во в сборке
151-05-299СПКоллектор впускной1
251-05-325Крышка1
3-Шайба 10 ОТ 65Г 0912
4-Болт М10х25.58.019
Болт М10-6gx45.58.019 1
10,8 1
2
5700-40-7403Прокладка1
63013Гайка2
7700-29-2210Шпилька2
805688-1Планка4
9700-40-3880СППрокладка2
1051-05-313Коллектор выпускной1
11700-46-2283Рукав1
12700-41-2222СПХомут2
13-Шайба 8Т 65Г 097
14-Гайка М8х1.6.0193
1551-05-370СППатрубок1
16700-40-8147Прокладка1
1751-54-1-01СПТурбокомпрессор ТКР 8,5С1
18-Болт М8-8g×20.58.0194
1951-05-314Вставка1
2051-54-30
92.264
Кольцо уплотнительное1
21700-30-2099-01Гайка8
22700-29-2354-01Шпилька4
23700-40-8750СППрокладка1
24700-28-2486Болт2
253178-01Шайба2
2616-05-279-01Крышка1
27700-40-7420Прокладка1
28-Клапан топливный электромагнитный 1102.3741 21
2951-05-150СП 2Трубка1
3051-05-111 2Кронштейн1
3151-05-169 2Прокладка1
32-Кольцо 20x261
33700-40-2233Прокладка1
34-Свеча факельная штифтовая 1102.3740 21
35-Болт М10-6g×35.58.0192
3651-05-519 2; 51-05-518 1Патрубок1
37-Болт М6-6gx16.88.019 24
38-Шайба 6Т 65Г 09 24
3940938 2Кольцо6
40700-41-2932 2Штуцер3
4151-05-504СП 2Трубка1
420474 1Втулка2
43-Гайка М8-7Н.6.0192
44-Шпилька 2М8× 3p/6g ×25.66.0162
4546238 2Прокладка1
4616-05-433 2Крышка1
1 Для дизеля с пусковым двигателем.
2 Для дизеля с электростартерной системой пуска.
Установка коллекторов для дизелей с турбокомпрессором ТКР 8,5С