| # | Номер запчасти | Наименование детали | Кол-во в сборке |
| - | 64-14-129СП | Фильтр | 1 |
| 1 | 64-14-26 | Крышка | 1 |
| 2 | - | Датчик аварийного давления
ММ129 ММ129-Э ММ129-Т FOX K4 TC06L/HNBR/14D/P1 | 1 |
| 3 | - | Гайка М12×1,25-7Н.6.019 | 8 |
| 4 | - | Шайба 12 ОТ 65Г 09 | 8 |
| 5 | 3135-1 | Шайба | 8 |
| 6 | 700-40-9572 | Кольцо | 1 |
| 7 | 700-29-2476 | Шпилька | 8 |
| 8 | 700-41-3813 | Штуцер | 1 |
| 9 | 46764 | Кольцо | 2 |
| 10 | 64-14-22 | Корпус | 1 |
| 11 | 64-14-57 | Муфта | 1 |
| 12 | - | Кольцо 100-110-58-2-2 | 1 |
| 13 | 64-14-23 | Корпус | 1 |
| 14 | - | Кольцо 48×55 | 1 |
| 15 | 64-14-51 | Муфта | 1 |
| 16 | 700-40-6147 | Прокладка | 1 |
| 17 | 64-14-116СП | Трубка | 1 |
| 18 | - | Шайба 10 ОТ 65Г 09 | 4 |
| 19 | - | Болт М10-6g×80.58.019 | 2 |
| 20 | - | Болт М10-6g×25.58.019 | 2 |
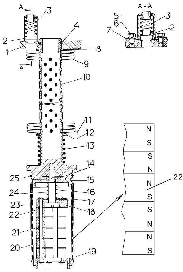
| # | Номер запчасти | Наименование детали | Кол-во в сборке |
| 1 | 64-14-77 | Крышка | 1 |
| 2 | 62-14-79 | Клапан | 1 |
| 3 | 38327 | Пружина | 1 |
| 4 | 700-42-2320 | Кольцо | 2 |
| 5 | - | Болт M8-6gx12.88.35.019 | 2 |
| 6 | - | Шайба 8Т 65Г 09 | 2 |
| 7 | 62-14-143СП | Планка | 1 |
| 8 | 700-40-6517 | Прокладка | 1 |
| 9 | 18-26-161СП | Элемент фильтрующий | 72 |
| 10 | 64-14-190СП | Труба | 1 |
| 11 | 401063 | Кольцо уплотнительное | 1 |
| 12 | 700-31-2042 | Шайба | 1 |
| 13 | 700-38-2112 | Пружина | 1 |
| 14 | - | Шплинт 1,6x16 | 10 |
| 15 | 64-14-131СП | Фильтр магнитный | 1 |
| 16 | 38319 | Пружина | 1 |
| 17 | - | Шплинт 3,2х32 | 1 |
| 18 | 64-14-85 | Втулка | 1 |
| 19 | 64-14-86 | Втулка | 1 |
| 20 | 64-14-88 | Стержень | 5 |
| 21 | 31436 | Шайба | 20 |
| 22 | 64-14-89 1 | Магнит | 25 |
| 23 | 64-14-132СП | Заборник | 1 |
| 24 | 64-14-87 | Стяжка | 1 |
| 25 | 700-40-3123 | Кольцо | 1 |
| 1 Детали 64-14-89 при установке в столбики располагать друг к другу одноименными полюсами. | |||
