Запасные части ЧТЗ Запасные части ЧТЗ
Владивосток
Например:
Актобе
Алдан
или
Выбрать автоматически
Актобе
Алдан
Алматы
Алчевск
Архангельск
Астана
Астрахань
Атырау
Баку
Балашиха
Барнаул
Белгород
Бердянск
Бишкек
Владивосток
Владикавказ
Воркута
Воронеж
Горловка
Грозный
Донецк
Екатеринбург
Иваново
Ижевск
Иркутск
Казань
Калининград
Каменск-Уральский
Караганда
Каховка
Кемерово
Киров
Комсомольск-на-Амуре
Костанай
Краснодар
Красноярск
Красный луч
Ленск
Луганск
Магадан
Магнитогорск
Макеевка
Махачкала
Мелитополь
Минск
Мирный (Якутия)
Москва
Мурманск
Нерюнгри
Нижневартовск
Нижний Новгород
Нижний Тагил
Новая каховка
Новокузнецк
Новосибирск
Новый Уренгой
Норильск
Ноябрьск
Нур-Султан
Омск
Оренбург
Ош
Павлодар
Пермь
Петрозаводск
Петропавловск
Петропавловск-Камчатский
Псков
Ростов-на-Дону
Салехард
Самара
Санкт-Петербург
Саратов
Севастополь
Семей
Симферополь
Сочи
Ставрополь
Сургут
Сыктывкар
Тараз
Ташкент
Токмак
Томск
Тында
Тюмень
Ульяновск
Усинск
Усть-Каменогорск
Уфа
Хабаровск
Ханты-Мансийск
Херсон
Челябинск
Чита
Шымкент
Экибастуз
Энергодар
Южно-Сахалинск
Якутск
Ваш город
Владивосток
Войти
Запасные части к тракторам на одном сайте
+7 (932) 303-00-10
+7 (932) 303-00-10
г. Владивосток, ул. Посадская, д. 20
Пн-Пт: 9:30-18:30 Cб-Вс: Выходной
Отправить заявку


Воздухоочиститель пускового двигателя на Т-170


/
с НДС 20%
Описание
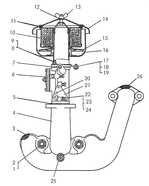
Воздухоочиститель пускового двигателя Т-170
Поз.НаименованиеАртикулКол-во в сборке
0Воздухоочиститель 17-05-184СП1
0Кронштейн17-05-182СП1
0Установка воздухоочистителя17-05-21СП1
1Гайка3011-72
2Шпилька29962
3Прокладка 700-40-20491
4Коллектор 17-05-1 (17-05-174)1
5Прокладка 700-40-81521
6Карбюратор 11.11070111
6Карбюратор К-125Л 17-05-185СП1
7Прокладка 700-40-81531
8ГайкаМ6Х6.0192
9Шайба6Т65Г092
10Кассета17-05-176СП1
11Кольцо407961
12Шайба313861
13Гайка05573-1-011
14Крышка17-05-1491
15Маслоотражатель17-05-1341
16Поддон17-05-186СП1
17Кронштейн17-05-1661
18Накладка17-05-1671
19ВинтВ.М4-6qХ12.58.0161
20Заклепка3Х10.272
21Накладка17-05-1721
22ГайкаМ8Х1.6.0192
23Шайба8Т65Г092
24Шпилька2М8Х1,25-3p/1-6gХ18.66.0162
25Фильтр17-05-180СП1
26Прокладка462381
26Прокладка 461601
Воздухоочиститель пускового двигателя