Запасные части ЧТЗ Запасные части ЧТЗ
Владивосток
Например:
Актобе
Алдан
или
Выбрать автоматически
Актобе
Алдан
Алматы
Алчевск
Архангельск
Астана
Астрахань
Атырау
Баку
Балашиха
Барнаул
Белгород
Бердянск
Бишкек
Владивосток
Владикавказ
Воркута
Воронеж
Горловка
Грозный
Донецк
Екатеринбург
Иваново
Ижевск
Иркутск
Казань
Калининград
Каменск-Уральский
Караганда
Каховка
Кемерово
Киров
Комсомольск-на-Амуре
Костанай
Краснодар
Красноярск
Красный луч
Ленск
Луганск
Магадан
Магнитогорск
Макеевка
Махачкала
Мелитополь
Минск
Мирный (Якутия)
Москва
Мурманск
Нерюнгри
Нижневартовск
Нижний Новгород
Нижний Тагил
Новая каховка
Новокузнецк
Новосибирск
Новый Уренгой
Норильск
Ноябрьск
Нур-Султан
Омск
Оренбург
Ош
Павлодар
Пермь
Петрозаводск
Петропавловск
Петропавловск-Камчатский
Псков
Ростов-на-Дону
Салехард
Самара
Санкт-Петербург
Саратов
Севастополь
Семей
Симферополь
Сочи
Ставрополь
Сургут
Сыктывкар
Тараз
Ташкент
Токмак
Томск
Тында
Тюмень
Ульяновск
Усинск
Усть-Каменогорск
Уфа
Хабаровск
Ханты-Мансийск
Херсон
Челябинск
Чита
Шымкент
Экибастуз
Энергодар
Южно-Сахалинск
Якутск
Ваш город
Владивосток
Войти
Запасные части к тракторам на одном сайте
+7 (932) 303-00-10
+7 (932) 303-00-10
г. Владивосток, ул. Посадская, д. 20
Пн-Пт: 9:30-18:30 Cб-Вс: Выходной
Отправить заявку


Радиатор на Т-170


/
с НДС 20%
Описание
Радиатор Т-170
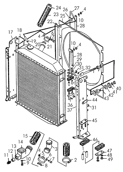
Поз.НаименованиеАртикулКол-во в сборке
0Кран 24-08-177СП1
0Радиатор с рамой24-08-8СП1
0Радиатор для тропиков130У.13.010-0-1Т1
0Шайба8Т65Г092
1Втулка24-08-1694
2Хомут или хомут червячный SGT 70-90/9 фирмы «Норма», ФРГ700-41-2222СП4
3Патрубок 50-08-521
4ГайкаМ8Х6.0192
5Лента хомута700-41-33282
6Шайба стопорная700-31-22692
7Болт700-28-21762
8Накладка700-41-33292
9БолтМ8Х25.88.35.0194
10Шайба8Т65Г0912
11Пробка 700-37-20551
12Втулка21-08-1241
13Штифт700-32-21881
14Корпус крана 24-08-1721
15Рукав 700-40-35032
16Радиатор водяной 130У.13.010-1сп1
17Боковина правая50-08-114СП1
18Уплотнение700-40-77912
19Рукав 700-40-34791
20Накладка37-26-712
21Лента хомута37-26-702
22Козырек24-08-1662
23Рукав 700-46-20411
24Хомут37-26-139СП2
25Щиток 24-08-1731
26Скоба084142
27Трубка24-08-1921
28Накладка24-08-1934
29ГайкаМ10Х6.0198
30Пластина21-08-864
31Гайка30116
31Гайка30118
32Шайба12ОТ65Г096
33Планка24-08-1604
34Амортизатор 700-40-4915-18
35Втулка24-08-1718
36Уголок24-08-174СП4
37Боковина левая50-08-113СП1
38Раскос50-08-130СП2
39ГайкаМ18Х1,5-6.0196
40Шайба18ОТ65Г092
41Тарелка24-08-1544
42Втулка 700-40-44284
43Втулка24-08-1572
44Пластина24-08-1644
45Накладка24-08-189СП2
46Амортизатор 700-40-49234
47Накладка24-08-1682
48Шайба 16ОТ65Г094
49Гайка 30134
Радиатор