Запасные части ЧТЗ Запасные части ЧТЗ
Владивосток
Например:
Актобе
Алдан
или
Выбрать автоматически
Актобе
Алдан
Алматы
Алчевск
Архангельск
Астана
Астрахань
Атырау
Баку
Балашиха
Барнаул
Белгород
Бердянск
Бишкек
Владивосток
Владикавказ
Воркута
Воронеж
Горловка
Грозный
Донецк
Екатеринбург
Иваново
Ижевск
Иркутск
Казань
Калининград
Каменск-Уральский
Караганда
Каховка
Кемерово
Киров
Комсомольск-на-Амуре
Костанай
Краснодар
Красноярск
Красный луч
Ленск
Луганск
Магадан
Магнитогорск
Макеевка
Махачкала
Мелитополь
Минск
Мирный (Якутия)
Москва
Мурманск
Нерюнгри
Нижневартовск
Нижний Новгород
Нижний Тагил
Новая каховка
Новокузнецк
Новосибирск
Новый Уренгой
Норильск
Ноябрьск
Нур-Султан
Омск
Оренбург
Ош
Павлодар
Пермь
Петрозаводск
Петропавловск
Петропавловск-Камчатский
Псков
Ростов-на-Дону
Салехард
Самара
Санкт-Петербург
Саратов
Севастополь
Семей
Симферополь
Сочи
Ставрополь
Сургут
Сыктывкар
Тараз
Ташкент
Токмак
Томск
Тында
Тюмень
Ульяновск
Усинск
Усть-Каменогорск
Уфа
Хабаровск
Ханты-Мансийск
Херсон
Челябинск
Чита
Шымкент
Экибастуз
Энергодар
Южно-Сахалинск
Якутск
Ваш город
Владивосток
Войти
Запасные части к тракторам на одном сайте
+7 (932) 303-00-10
+7 (932) 303-00-10
г. Владивосток, ул. Посадская, д. 20
Пн-Пт: 9:30-18:30 Cб-Вс: Выходной
Отправить заявку


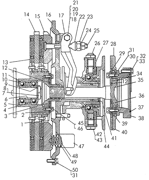
Муфта сцепления в разрезе на Т-170


/
с НДС 20%
Описание
Муфта сцепления Т-170
Поз.НаименованиеАртикулКол-во в сборке
0Муфта сцепления 18-14-4СП1
0Муфта сцепления болотоходных тракторов 20-14-2СП1
1Крышка 18-14-1141
2Прокладка700-40-25321
3Муфта 18-14-781
4Пружина384621
5Барабан зубчатый 18-14-1041
6Втулка18-14-621
7Шайба 31701
8Гайка 700-30-20321
9Пластина50-14-21
10Кольцо 18-14-662
11Подшипник 180308У1С9Ш или 180308УС92
12Кольцо 468122
13Диск ведомый 18-14-135СП2
14Диск ведущий 18-14-441
15Диск нажимной 50-14-641
16Фланец 18-14-142СП1
17Рычаг 18-14-923
18Палец18-14-493
19Ролик18-14-693
20ГайкаМ12Х1,25-6Н.6А.0193
21Шплинт3,2Х25.0193
22Призма 18-14-473
23Гайка 18-14-1303
24ПроволокаКОЗ5
25Болт 18-14-1313
26Палец 18-14-1281
27Рычаг 24-14-104СП1
28Тормозок 18-14-140-01СП1
29Пластина 18-14-1224
30БолтМ12Х25.88.45.0194
31Шайба12ОТ65Г0916
32Болт 123048
33Пластина замковая 315454
34Кольцо 700-58-25201
35Вал 50-14-231
36Крышка 18-14-1251
37Кольцо213631
38Муфта 50-14-261
39Прокладка700-40-52591
40Накладка фрикционная 18-14-1351
41Кольцо700-40-2122
42Палец 18-14-1271
43Пластина 313642
44Муфта включения 18-14-133СП1
45БолтМ10Х25.46.0194
46Шайба 10 ОТ 65Г4
47Стакан 50-14-6312
48Пружина 3846112
49Пружина 3846012
50БолтМ12-6qХ35.46.01912
Муфта сцепления в разрезе