| Поз. | Обозначение | Наименование | Кол. | Масса |
| 1 |
РНД 10.7.5.1200.0,13.54/54-90°. М18×1,5/М18×1,5-У1 ТУ 3148-001-20871731-94 |
1 | 1,2 | |
| 2 | ПК46.31.00.009 | Штуцер | 1 | 0,05 |
| 3 | Стяжка (Хомут) K-300SB | 9 | 0,002 | |
| 4 |
РНД 10.7,5.2200.0,13.54-90754-90°. М18×1,5/М18×1,5-У1 ТУ 3148-001-20871731-94 |
1 | 2,0 | |
| 5 | ПК46.31.00.008 | Штуцер | 1 | 0,05 |
| 6 |
РНД 8.7,5.2200.0,064.09/103-90°. D12,5/M14×1,5-У1 ТУ 3148-001-20871731-94 |
1 | 2,0 | |
| 7 | Болт M10-6g×20.58.019 (S16) ГОСТ 7798-70 | 7 | 0,02 | |
| 8 | Шайба 10.65Г.019 ГОСТ 6402-70 | 9 | 0,002 | |
| 9 | КБ11.31.00.006 | Прокладка | 5 | 0,007 |
| 10 | ПК46.31.00.005 | Болт | 2 | 0,04 |
| 11 |
РНД 8.7,5.450.0,115.09/54. D12,5/M12×1,25-Y1 ТУ 3148-001-20871731-94 |
1 | 0,45 | |
| 12 | Краник проходной 2201С28-Б ОСТ 37.001.240-81 | 1 | 0,08 | |
| 13 | ПК46.31.00.081 | Штуцер | 1 | 0,07 |
| 14 | 027.36.11.571-01 | Хомут | 7 | 0,015 |
| 15 |
РНД 8.7,5.2200(1100+1100).0,115.09/24. D14,5/K1/4"-У1 ТУ 3148-001-20871731-94 |
1 | 2,0 | |
| 16 |
РНД 8.7,5.600.0,115.09/11. D14,5/М18×1,5-У1 ТУ 3148-001-20871731-94 |
1 | 0,8 | |
| 17 | Болт M10-6g×30.58.019 (S16) ГОСТ 7798-70 | 2 | 0,054 | |
| 18 | Фильтр грубой очистки топлива А23.20-000-02 | 1 | 2,5 | |
| 19 | ПК46.31.00.007 | Прокладка | 4 | 0,006 |
| 20 | См.табл. | |||
| 21 | Гайка М10-6Н.5.019 (S16) ГОСТ 5915-70 | 2 | 0,018 | |
| Общий вес, кг | 18,3 | |||
| ПК46.31.00.000 | ||||
| 20 | Шайба С.10.02.019 ГОСТ 11371-78 | 2 | 0,003 | |
| ПК46.31.00.000-01 | ||||
| 20 | Шайба С.10.02.019 ГОСТ 11371-78 | 4 | 0,003 | |
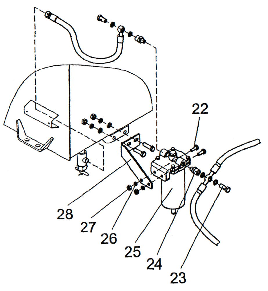
| 22 | Болт M8-6g×35.58.019 (S13) ГОСТ 7798-70 | 2 | 0,019 | |
| 23 | ПК46.31.00.084 | Болт | 2 | 0,05 |
| 24 | ПК46.31.00.082 | Штуцер | 2 | 0,07 |
| 25 | Фильтр грубой очистки топлива 204А-1105510-Б | 1 | 2,0 | |
| 26 | Шайба 8.65Г.019 ГОСТ 6402-70 | 2 | 0,001 | |
| 27 | Гайка М8-6Н.5.019 (S13) ГОСТ 5915-70 | 2 | 0,005 | |
| 28 | ПК46.31.00.083 | Кронштейн | 1 | 0,46 |
