Запасные части ЧТЗ Запасные части ЧТЗ
Владивосток
Например:
Актобе
Алдан
или
Выбрать автоматически
Актобе
Алдан
Алматы
Алчевск
Архангельск
Астана
Астрахань
Атырау
Баку
Балашиха
Барнаул
Белгород
Бердянск
Бишкек
Владивосток
Владикавказ
Воркута
Воронеж
Горловка
Грозный
Донецк
Екатеринбург
Иваново
Ижевск
Иркутск
Казань
Калининград
Каменск-Уральский
Караганда
Каховка
Кемерово
Киров
Комсомольск-на-Амуре
Костанай
Краснодар
Красноярск
Красный луч
Ленск
Луганск
Магадан
Магнитогорск
Макеевка
Махачкала
Мелитополь
Минск
Мирный (Якутия)
Москва
Мурманск
Нерюнгри
Нижневартовск
Нижний Новгород
Нижний Тагил
Новая каховка
Новокузнецк
Новосибирск
Новый Уренгой
Норильск
Ноябрьск
Нур-Султан
Омск
Оренбург
Ош
Павлодар
Пермь
Петрозаводск
Петропавловск
Петропавловск-Камчатский
Псков
Ростов-на-Дону
Салехард
Самара
Санкт-Петербург
Саратов
Севастополь
Семей
Симферополь
Сочи
Ставрополь
Сургут
Сыктывкар
Тараз
Ташкент
Токмак
Томск
Тында
Тюмень
Ульяновск
Усинск
Усть-Каменогорск
Уфа
Хабаровск
Ханты-Мансийск
Херсон
Челябинск
Чита
Шымкент
Экибастуз
Энергодар
Южно-Сахалинск
Якутск
Ваш город
Владивосток
Войти
Запасные части к тракторам на одном сайте
+7 (932) 303-00-10
+7 (932) 303-00-10
г. Владивосток, ул. Посадская, д. 20
Пн-Пт: 9:30-18:30 Cб-Вс: Выходной
Отправить заявку


Меры безопасности при эксплуатации бульдозера


/
с НДС 20%
Описание
При эксплуатации, техническом обслуживании и проверке бульдозерного и рыхлительного оборудования соблюдать следующие требования безопасности:
  • к работе и управлению бульдозером допускаются лица, получившие специальную подготовку и право на управление бульдозером, прошедшие инструктаж по технике безопасности.
  • работать на неисправном бульдозере запрещается.
  • не хранить топливо, смазочные и обтирочные материалы на площадке для стоянки бульдозера.
  • перед разработкой грунта получить сведения об отсутствии на площадке подземных коммуникаций.
  • переезжать на новое место работы своим ходом только с поднятыми отвалом и зубом рыхлителя.
  • перед въездом на мост проверить по дорожным знакам, не превышает ли масса бульдозера допустимой нагрузки на сооружение, нет ли ограничений по габаритным размерам.
Во время работы бульдозера:
  • не производить операции по разработке грунта на склонах (косогорах) с поперечным уклоном свыше 20°;
  • не производить разработку грунта при продольном уклоне свыше 30°;
  • не производить повороты при заглубленном отвале или зубе рыхлителя;
  • при перемещении грунта на краю обрыва первыми ходами необходимо оставлять грунт перед краем обрыва и последующими ходами бульдозера сталкивать грунт, оставшийся после первых ходов, через край обрыва;
  • не подтягивать гайки гидропривода, находящегося под давлением;
  • не делать перекос при максимально поднятом или опущенном отвале.
ЗАПРЕЩАЕТСЯ производить максимальный подъем отвала при его максимальном перекосе во избежание поломки гидроцилиндров.

При техническом обслуживании бульдозера:
  • осмотр и устранение неисправностей, смазку и регулировку бульдозерного и рыхлительного оборудования, все работы по техническому обслуживанию производить при неработающем двигателе, заторможенной ходовой системе и опущенных на грунт отвале бульдозера и зубе рыхлителя;
  • перед разборкой все составные части, которые могут прийти в движение под действием веса, привести в положение, обеспечивающее безопасное выполнение работ;
  • не производить сварочные работы на трубопроводах, подсоединенных к гидравлическому приводу;
  • не применять сжатый воздух при разборке гидросистемы;
  • испытание и эксплуатацию гидравлических приводов и устройств проводить при соблюдении правил противопожарной безопасности;
  • не применять удлинители к гаечным ключам, пользоваться только исправным инструментом.


  1. Грузить и сгружать бульдозер буксиром или своим ходом на железнодорожную платформу или трейлер по специальным въездам (уклон не более 15°), устанавливаемым с торца платформы или трейлера.

  2. Уступы (ступени) при въезде (съезде) не допускаются.

  3. При буксировании руководствоваться указаниями раздела «Транспортирование» «Технического описания и инструкции по эксплуатации трактора ДЭТ-250М2».

  4. Не допускать при погрузке бульдозера буксования и смещения бульдозера по отношению к оси железнодорожной платформы или платформы трейлера, что может привести к падению бульдозера.

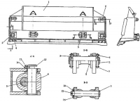
  5. При монтаже (демонтаже) рабочего оборудования и погрузке его при транспортировании использовать грузоподъемное оборудование грузоподъемностью не менее 3,5 т.

  6. Рекомендуемые места строповки составных частей рабочего оборудования приведены ниже.

  7. Указания мер безопасности при работе на тракторе изложены в «Техническом описании и инструкции по эксплуатации трактора ДЭТ-250М2».
Меры безопасности при эксплуатации бульдозера