Запасные части ЧТЗ Запасные части ЧТЗ
Владивосток
Например:
Актобе
Алдан
или
Выбрать автоматически
Актобе
Алдан
Алматы
Алчевск
Архангельск
Астана
Астрахань
Атырау
Баку
Балашиха
Барнаул
Белгород
Бердянск
Бишкек
Владивосток
Владикавказ
Воркута
Воронеж
Горловка
Грозный
Донецк
Екатеринбург
Иваново
Ижевск
Иркутск
Казань
Калининград
Каменск-Уральский
Караганда
Каховка
Кемерово
Киров
Комсомольск-на-Амуре
Костанай
Краснодар
Красноярск
Красный луч
Ленск
Луганск
Магадан
Магнитогорск
Макеевка
Махачкала
Мелитополь
Минск
Мирный (Якутия)
Москва
Мурманск
Нерюнгри
Нижневартовск
Нижний Новгород
Нижний Тагил
Новая каховка
Новокузнецк
Новосибирск
Новый Уренгой
Норильск
Ноябрьск
Нур-Султан
Омск
Оренбург
Ош
Павлодар
Пермь
Петрозаводск
Петропавловск
Петропавловск-Камчатский
Псков
Ростов-на-Дону
Салехард
Самара
Санкт-Петербург
Саратов
Севастополь
Семей
Симферополь
Сочи
Ставрополь
Сургут
Сыктывкар
Тараз
Ташкент
Токмак
Томск
Тында
Тюмень
Ульяновск
Усинск
Усть-Каменогорск
Уфа
Хабаровск
Ханты-Мансийск
Херсон
Челябинск
Чита
Шымкент
Экибастуз
Энергодар
Южно-Сахалинск
Якутск
Ваш город
Владивосток
Войти
Запасные части к тракторам на одном сайте
+7 (932) 303-00-10
+7 (932) 303-00-10
г. Владивосток, ул. Посадская, д. 20
Пн-Пт: 9:30-18:30 Cб-Вс: Выходной
Отправить заявку


Кожух маховика Т-170 Б-170 трактора в Владивостоке


/
с НДС 20%
Описание

Снятие кожуха маховика

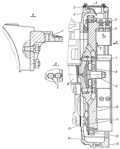
Для снятия кожуха 14 (см. рис. 61) маховика снимите дизель с трактора и маховик. Отверните четыре болта крепления картера к кожуху маховика и семь гаек крепления кожуха маховика к блоку дизеля.

Приспособление для подъема кожуха маховика
Рис. 63. Приспособление для подъема кожуха маховика

Присоедините к подъемнику (рис. 63) и снимите кожух маховика, стараясь не повредить прокладку 15 (см. рис. 61) между кожухом маховика и картером. Масса кожуха маховика 80 кг.

Разборка кожуха маховика

Отверните со шпилек гайки, крепящие задние лапы 1 к кожуху маховика, снимите лапы со шпилек.

Сборка кожуха маховика

Вверните в кожух маховика восемь шпилек крепления лап 1, предварительно смазав суриком вворачиваемую часть шпилек. Установите на шпильки кожуха маховика лапы так, чтобы верхняя опорная плоскость лапы своими выступами плотно прилегала к опорному фрезерованному бурту кожуха маховика, и закрепите лапы гайками с пружинными шайбами. Проверку производите щупом толщиной 0,1 мм. Сквозное прохождение щупа по выступам лап не допускается. Вверните в кожух пробку 13.

Установка кожуха маховика

Проверьте на заднем торце блока наличие двух штифтов для посадки кожуха маховика. Оботрите посадочные плоскости кожуха маховика и блока и установите подъемным приспособлением (см. рис. 63) кожух на блок. Между торцовой поверхностью картера и кожухом установите прокладку 15 (см. рис. 61). Прокладку приклейте к задней плоскости картера клеем 88-НП, Закрепите кожух маховика на шпильках блока семью гайками с пружинными шайбами. Прикрепите картер к кожуху маховика четырьмя болтами с пружинными шайбами.

Кожух маховика