Запасные части ЧТЗ Запасные части ЧТЗ
Владивосток
Например:
Актобе
Алдан
или
Выбрать автоматически
Актобе
Алдан
Алматы
Алчевск
Архангельск
Астана
Астрахань
Атырау
Баку
Балашиха
Барнаул
Белгород
Бердянск
Бишкек
Владивосток
Владикавказ
Воркута
Воронеж
Горловка
Грозный
Донецк
Екатеринбург
Иваново
Ижевск
Иркутск
Казань
Калининград
Каменск-Уральский
Караганда
Каховка
Кемерово
Киров
Комсомольск-на-Амуре
Костанай
Краснодар
Красноярск
Красный луч
Ленск
Луганск
Магадан
Магнитогорск
Макеевка
Махачкала
Мелитополь
Минск
Мирный (Якутия)
Москва
Мурманск
Нерюнгри
Нижневартовск
Нижний Новгород
Нижний Тагил
Новая каховка
Новокузнецк
Новосибирск
Новый Уренгой
Норильск
Ноябрьск
Нур-Султан
Омск
Оренбург
Ош
Павлодар
Пермь
Петрозаводск
Петропавловск
Петропавловск-Камчатский
Псков
Ростов-на-Дону
Салехард
Самара
Санкт-Петербург
Саратов
Севастополь
Семей
Симферополь
Сочи
Ставрополь
Сургут
Сыктывкар
Тараз
Ташкент
Токмак
Томск
Тында
Тюмень
Ульяновск
Усинск
Усть-Каменогорск
Уфа
Хабаровск
Ханты-Мансийск
Херсон
Челябинск
Чита
Шымкент
Экибастуз
Энергодар
Южно-Сахалинск
Якутск
Ваш город
Владивосток
Войти
Запасные части к тракторам на одном сайте
+7 (932) 303-00-10
+7 (932) 303-00-10
г. Владивосток, ул. Посадская, д. 20
Пн-Пт: 9:30-18:30 Cб-Вс: Выходной
Отправить заявку


Стартер П-23У трактора в Владивостоке


/
с НДС 20%
Описание

На пусковом двигателе применяется электростартер СТ 230 Е, представляющий собой электродвигатель постоянного тока последовательного возбуждения, мощностью 1,5 кВт (2 л. с.) при частоте вращения якоря (1200±120) мин-1 и номинальным напряжением 12 В. Управление стартером осуществляется механизмом привода из кабины трактора.

Крепление стартера к двигателю — фланцевое, на двух болтах.

Снимайте стартер с двигателя для проведения текущего ремонта или замены в следующих случаях:

  • стартер не проворачивает вал пускового двигателя или проворачивает медленно (при исправной аккумуляторной батарее и если нет повреждений в цепи питания);
  • якорь вращается, но стартер не проворачивает вал пускового двигателя;
  • шестерня привода не входит в зацепление с венцом маховика (слышен скрежет);
  • при работе стартера слышен ненормальный шум (удары, скрежет).

Стартер замените при повреждении полюсных катушек корпуса (межвитковое замыкание, пробой изоляции), искажении геометрической формы корпуса, а также в случаях, когда работоспособность стартера нельзя восстановить проведением текущего ремонта, что определяется после предварительной "разборки и проверки технического состояния деталей. Разборку, ремонт и испытание стартера проводите в специализированных мастерских.

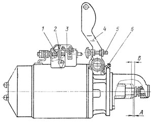
Снятие стартера Т-170

Отсоедините тягу управления 2 (рис. 117) от рычага включения 1 стартера, не изменяя длины тяги, чтобы не нарушить регулировку.

Установка стартера
Рис. 117. Установка стартера

Отсоедините от клемм стартера провода, разметьте положение проводов на клеммах. Отверните два болта крепления и снимите стартер 5 с фланцевой прокладкой с пускового двигателя.

Разборка стартера Т-170

Отверните гайку и отсоедините вывод обмоток возбуждения от выводного болта 21 (рис. 118) включателя стартера. Отверните два винта крепления и снимите корпус включателя 14 в сборе.

Стартер СТ230Е
Рис. 118. Стартер СТ230Е
1 — крышка со стороны привода; 2 — втулка подшипника; 3 — кольцо упорное; 4 — шестерня привода; 5 — муфта свободного хода; 6 —пружина; 7 — винт упорный; 8 — муфта включения привода; 9 — ось рычага; 10 — штифт регулировочный; 11 — обмотка якоря; 12 — рычаг включения; 13 — плунжер; 14 — корпус включателя; 15 — крышка включателя; 16 — пружина контактного диска; 17 — диск контактный; 18 — пружина плунжера; 19 — болт-клемма для подсоединения от аккумуляторной батареи; 20 — втулка изоляционная; 21 — болт контактный; 22 — коллектор; 23 — вывод щетки; 24 — щеткодержатель; 25 — щетка; 26 — пружина щетки; 27 — кожух; 28 — кольцо уплотнительное; 29 — болт стяжной; 30 — крышка со стороны коллектора; 31, 37 — штифты установочные; 32 — обмотка возбуждения; 33 — башмак статора; 34 — якорь; 35 — корпус; 36 — диск промежуточного подшипника; 38 — кольцо замковое; 39 — шайба упорная; 40 — вал якоря.

Снимите защитный кожух 27, отвернув три винта. Снимите уплотнительное кольцо 28. Отверните четыре винта крепления выводов 23 щеток и катушек возбуждения 32, оттяните отверткой концы пружин 26 и выньте четыре щетки 25 из щеткодержателей 24. Щетки и щеткодержатели пометьте, чтобы при сборке щетки (если они не заменяются) были установлены на свои места.

Отверните два стяжных болта 29 и снимите крышку 30 со стороны коллектора. Снимите с якоря корпус 35 стартера и крышку 1 со стороны привода в сборе с рычагом 12 привода.

Снимите с вала. 40 якоря упорную шайбу 39, отодвиньте упорное кольцо 3 в сторону шестерни 4 и снимите замковое кольцо 38, после чего снимите с вала якоря привод в сборе с шестерней 4, муфтой 5 свободного хода и муфтой 8 включения привода. Снимите диск 36 промежуточного подшипника.

Технические требования на стартер Т-170

  1. Забоины и заусенцы, на посадочных поверхностях корпуса и поверхностях полюсных башмаков зачищайте напильником или шлифовальной шкуркой.

  2. Обгорание или механические повреждения изоляции, катушек, межвитковое замыкание или обрыв обмоток катушек, ослабление крепления полюсных башмаков (отворачивание винтов или срыв резьбы) не допускаются.
    Проверяйте обмотки катушек на обрыв с помощью контрольной электролампы напряжением 12 В или прибором типа «Тестер», а межвитковое замыкание — портативным дефектоскопом КИ-959, руководствуясь инструкцией по эксплуатации прибора.
    Изоляция обмоток и токоведущих деталей относительно корпуса должна выдерживать напряжение 550 В в течение 1с.

  3. Поверхность коллектора при незначительном ее подгорании зачищайте мелкой стеклянной шлифовальной шкуркой. и протрите ветошью, смочен: ной в бензине. При значительном подгорании или при обнаружении на поверхности коллектора следов местного износа проточите коллектор на токарном станке и прошлифуйте до получения гладкой блестящей поверхности.
    После проточки биение коллектора относительно крайних шеек вала не более 0,05 мм,по индикатору.

  4. Проверяйте обмотки якоря, нет ли обрывов и межвиткового замыкания, замыкания пластин коллектора или обмоток на «массу» с помощью прибора Э202 (ППЯ 533), руководствуясь инструкцией по эксплуатации прибора.

  5. Поверхности шеек вала якоря под втулки крышек не должны иметь следов местного износа, втулки крышек не должны иметь заметных следов одностороннего износа.

  6. Щетки должны всей плоскостью прилегать к коллектору и свободно передвигаться в гнездах щеткодержателей. При сколах рабочих поверхностей щеток или их износов до высоты менее 6 мм, замените их новыми. Новую щетку притрите по коллектору мелкой стеклянной шкуркой. Несвоевременная замена щеток приведет к выходу из строя коллектора, а следовательно, и стартера в целом.

  7. Усилие давления пружин на щетки должно быть в пределах 10. . 14Н (1,0... 1,4 кгс) для новых щеток. Давление замеряйте в момент отрыва конца пружины от щетки.

  8. Если при пуске пускового двигателя наблюдалось проскальзывание муфты привода (т. е. якорь вращался, но стартер не проворачивал вал двигателя), замените привод шестерни включения. Замените привод в сборе также и при поломке или значительном износе как по длине, так и по ширине зубьев шестерни привода.
    Забоины на торцовых поверхностях зубьев шестерни стартера и венца маховика пускового двигателя зачищайте напильником.

  9. Привод стартера должен свободно, без заеданий перемещаться по шлицевой нарезке якоря и возвращаться в исходное положение под действием возвратной пружины.
    Привод должен выдерживать без повреждений нагружение статическим моментом (40±5) Н-м [(4±0,5) кгс-м]. Для проверки установите привод на оправке и на шестерню привода наденьте рычаг с грузом, соответствующим указанному моменту, при этом рычаг не должен перемещаться в радиальном направлении, т. е. муфта привода не должна пробуксовывать.

  10. Рабочие поверхности контактных болтов и диска включателя стартера должны быть очищены от пыли и грязи. Поверхности контактов при незначительном их подгорании зачищайте надфилем. При значительном подгорании и износе контактных болтов в местах соприкосновения с контактным диском разверните болты на 180°, а диск поверните другой стороной.

  11. В крайнем выключенном положении рычаг включения стартера должен быть расположен вертикально. Допустимое отклонение конца рычага от вертикали в сторону включения стартера 10 мм, в сторону венца — 4 мм.
    Оси отверстий в обоих ушках должны совпадать и быть перпендикулярны плоскости рычага.

Сборка стартера Т-170

Перед сборкой смажьте смазкой ГОИ-54п или ЦИАТИМ-201 винтовую нарезку вала 40 (см. рис. 118) якоря, пальца рычага 12 и ось 9. Подшипники и шейки вала якоря смажьте индустриальным маслом 45, привод шестерни включения в сборе окуните в моторное масло, проверните несколько раз шестерню и дайте стечь маслу.

Наденьте на вал якоря диск 36 промежуточного подшипника, привод шестерни включения 4 в сборе, упорное кольцо 3. Установите в выточку вала якоря замковое кольцо 38 и наденьте на него со стороны шестерни упорное кольцо 3.

Установите на вал якоря корпус 35, наденьте на шейку вала со стороны коллектора регулировочные шайбы (если они были установлены) и установите крышку 30 со стороны коллектора так, чтобы установочный штифт 31 крышки вошел в паз корпуса стартера. Наденьте на шейку вала со стороны привода упорную шайбу 39 и установите крышку 1 со стороны привода, введя пальцы рычага включения 12 в муфту включения привода 8. Введите установочный штифт 37 крышки со стороны привода в пазы диска 36 промежуточного подшипника и корпуса, и соедините крышки и корпус стартера двумя стяжными болтами 29, установив под головки болтов фигурные и пружинные шайбы.

Оттяните отверткой концы пружин 26 и установите четыре щетки 25 в гнезда щеткодержателей 24 по меткам, нанесенным при разборке, если используются старые щетки. Закрепите выводы 23 щеток и обмоток возбуждения на щеткодержателях винтами с пружинными шайбами. Убедитесь, что два вывода катушек возбуждения закрепляются на щеткодержателях, которые должны быть электроизолированы от крышки 30 корпуса, а выводы щеток, закрепленных на этих щеткодержателях, не касаются крышки корпуса и не выступают над ее цилиндрической поверхностью.

Установите в проточку на фланце корпуса 35 со стороны коллектора резиновое уплотнительное кольцо 28, наденьте на крышку 30 защитный кожух 27 и закрепите его тремя винтами с пружинными шайбами.

Установите на корпус стартера включатель 14 в сборе с контактами и закрепите его двумя винтами с пружинными шайбами. Присоедините вывод обмоток возбуждения к выводному болту 21 включателя гайкой с пружинной и двумя гладкими шайбами.

Регулирование включения стартера Т-170

  1. Нажмите на рычаг включения 4 (рис. 119) до упора рычага в винт 6.
    Регулирование включения стартера
    Рис. 119. Регулирование включения стартера
    При этом зазор А между шестерней привода и упорным кольцом на валу якоря должен быть не более 1 мм. Регулируйте вращением упорного винта 6, ослабив контргайку винта.

  2. Снимите крышку 3 включателя. Нажмите на рычаг включения 4 до момента начала замыкания контактным диском 2 главных контактов 1 включателя. При этом зазор В между шестерней привода и упорным кольцом на валу якоря должен быть в пределах 2,5...4 мм. Регулируйте вращением штифта 5 на рычаге включения, ослабив контргайки штифта. Во время регулирования все замеры проводите при выбранном люфте привода в сторону коллектора.

После окончания регулирования зафиксируйте контргайками положение упорного винта и штифта рычага включения, затем еще раз проверьте величины зазоров А и В.

Испытание стартера Т-170

Пчеле сборки проведите контрольные испытания стартера в режиме холостого хода и при полном торможении на стенде ГАРО (модель 532) или аналогичном ему стенде.

При испытании стартера в режиме холостого хода частота вращения якоря должна быть не менее 4000 мин-1 при напряжении на клеммах не более 12 В и потребляемом токе не более 75 А.

Замеряйте в течение 30 с после включения стартера.

При испытании в режиме полного торможения стартер должен развивать тормозной момент не менее 22 Н-м (2,25 кгс-м) при потребляемом токе не более 530 А и напряжении на клеммах не более 7 В. Продолжительность испытания не более 5 с.

Установка стартера

Установите стартер 5 (см. рис. 117) с фланцевой прокладкой на корпус муфты сцепления пускового двигателя и закрепите его двумя болтами с пружинными шайбами. Подсоедините к клеммам стартера провода по разметке, выполненной при снятии стартера.

Поверните рычаг 3 механизма привода стартера до касания в упор 4. В этом положении отрегулируйте длину тяги 2 до совпадения отверстия в тяге с отверстиями рычага включения 1, который должен находиться в крайнем выключенном положении. Соедините тягу 2 с рычагом 1 пальцем, зашплинтуйте палец и застопорите тягу гайкой.

Механизм привода стартера должен обеспечивать полное включение стартера (ввод шестерни в зацепление с венцом маховика пускового двигателя), а также возвращение рычага под действием пружины в исходное положение (вывод шестерни из зацепления).

Стартер